- MPQ71000FS-AEC1
MPQ71000FS-AEC1
MPSafeTM ASIL-D, 36V, 300mA, Dual LDO with ADC and I2C Interface, AEC-Q100 Qualified
Session textval
Session Titefor popup
详情
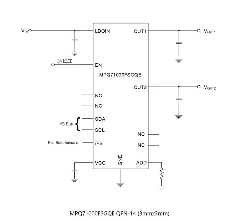
The MPQ71000FS-AEC1 is a dual-channel, low-dropout (LDO) regulator with an I2C interface and one-time programmable (OTP) memory. The device provides power for automotive advanced driver-assistance systems (ADAS) module and active antennas in automotive systems. The wide input voltage (VIN) range makes the MPQ71000FS-AEC1 suitable for battery cold-crank (3V) conditions, up to load dump (42V) conditions.
The MPQ71000FS-AEC1 delivers up to 300mA of current per channel with excellent load and line regulation. The dual LDO output voltages (VOUT1 and VOUT2) are both configurable via the I2C interface with a range between 1V and 18V. The standard I2C interface provides flexibility in applications. Various parameters can be adjusted by writing the settings in the device without any hardware changes required.
The MPQ71000FS-AEC1 has an internal successive approximation register (SAR) analog-to-digital converter (ADC) to monitor output voltage and current, as well as the temperature. The device is provides full diagnostics of over-current (OC), short-circuit (SC), output over-voltage (OV), under-voltage (UV), short-to-battery (STB), and open-load conditions. It also features thermal shutdown.
Safety mechanisms such as built-in self-testing (BIST) provide high diagnostic coverage, which provides the desired safety coverage for ASIL-D requirements.
The MPQ71000FS-AEC1 is available in flip-chip QFN-14 (3mmx3mm) and wire-bonded QFN-16 (4mmx4mm) packages with wettable flanks. It is available in AEC-Q100 Grade 1.
-
显示更多
显示较少
产品特性和优势
- Powerful Digital Capabilities:
- No External Resistor Network for Output Voltage (VOUTx) Settings
- Configurable, Dual Low-Dropout (LDO) Regulators:
- 300mA Continuous Output Current (IOUTx) per Channel
- 1V to 18V VOUTx Range
- Adjustable IOUTx Limit
- Multi-Page One-Time Programmable (MOTP) Memory
- Designed for Automotive Applications:
- Wide 4.5V to 36V Input Voltage (VIN) Range
- Load Dump Up to 42V
- Cold Crank Down to 3V
- Available in AEC-Q100 Grade 1
- Enhanced System Oversight:
- 8-Bit Successive Approximation Register (SAR) Analog-to-Digital Converter (ADC) Monitors Output Currents, Voltages, and Temperatures
- Functional Safety Features:
- MPSafeTM Certified to ISO 26262 ASIL-D
- Analog Built-In Self-Testing (BIST)
- Logic BIST
- Real-Time Register Cyclic Redundancy Check (CRC)
- Non-Volatile Memory (NVM) CRC Protection
- Rich Protections and Diagnostics:
- Output Over-Current (OC) Detection
- Output Over-Voltage (OV) and Under-Voltage (UV) Detection
- Short-to-Battery (STB) Protection
- Open-Load Detection
- Back-to-Back MOSFETs for Reverse-Current Protection
- Over-Temperature (OT) Shutdown Detection
- Application Flexibility with I2C Interface:
- Fast Mode I2C Interface with Optional Packet Error Checking (PEC)
- Configurable Parameters:
- VOUTx
- Protection Thresholds
- Fault Behaviors
- Power-On Sequencing
- Additional Features:
- 20μA Quiescent Supply Current
- 140mV LDO Voltage
- 93dB High Power Supply Rejection Ratio at 100Hz
- Available in QFN-14 (3mmx3mm) and QFN-16 (4mmx4mm) Packages
- Available in a Wettable-Flank Package
正在供货产品型号
MPQ71000FSGQE-xxxx-AEC1-Z MPQ71000FSGQE-xxxx-AEC1-P MPQ71000FSGQE-0000-AEC1-Z MPQ71000FSGQE-0000-AEC1-P MPQ71000FSGRE-xxxx-AEC1-Z MPQ71000FSGRE-xxxx-AEC1-P MPQ71000FSGRE-0000-AEC1-Z MPQ71000FSGRE-0000-AEC1-P
以 P 和 Z 结尾的零件编号是相同的零件。P 和 Z 仅表示卷筒尺寸
P&Z的含义 
MPQ71000FS-AEC1 Resources
-
APPLICATION
雨刮器控制应用雨刮器控制系统可智能管理雨刮器速度、间歇设置并提供自动雨量感应功能,在各种天气条件下都为驾驶员提供最佳的视野。现代雨刮器控制装置注重安全性和便利性,从基本的雨刮器调整,到复杂的雨量感应功能,雨刮器控制技术可确保在恶劣天气下驾驶时也实现最佳功能和安全性。 MPS 的解决方案组合包含了多种产品,包括电机驱动器、电流传感器、位置传感器、LDO、看门狗定时器和监控电路,能够满足现代雨刮器控制系统的复杂要求。这些组件不仅能够提供高效率的电源管理,还支持自适应速度控制和精确定位等高级功能。 我们卓越的解决方案组合为下一代雨刮器控制系统供电提供了所需的一切。
-
APPLICATION
车窗控制应用车窗控制系统实现了用户对车窗的丝滑控制。用户只需触摸按钮即可进行精确的调节,具体包括但不限于单个车窗控制、一键式自动功能,以及障碍物检测等安全功能,可确保乘客方便、安全的操作。 MPS 的车窗控制系统全套产品中包括了电机驱动器、位置传感器、LDO、看门狗定时器和监控电路,所有这些产品都专为满足现代汽车车窗控制系统的需求而定制。这些器件不仅能够提供高效率配电功能,还支持防夹和智能车窗定位等先进功能。 我们卓越的解决方案组合为实现下一代车窗控制系统供电提供了所需的一切,从基本的车窗调节,到复杂的安全功能,能够确保丝滑、安全的车窗控制体验。
-
APPLICATION
座椅舒适性控制应用座椅舒适性控制技术让用户能够精确调节并个性化汽车座椅的舒适度设置,从而确保最佳的乘坐体验。无论是调节腰部支撑、座椅加热还是调节通风,座椅舒适控制系统都能提供无缝、灵敏的响应,提升用户在车内的整体舒适度。 MPS 的座椅舒适控制系统全套产品包括了电机驱动器、电流传感器、位置传感器、LDO、看门狗定时器和监控电路。从基本座椅调节到复杂的舒适功能,这些组件能够为所有功能供电,并在座椅舒适度控制的各个方面都实现高效率、高可靠性和高精度,为卓越的驾驶体验做出贡献。 MPS独特的解决方案组合为实现下一代座椅舒适控制系统供电提供了所需的一切。
-
APPLICATION
座椅调节应用座椅调节系统作为汽车创新的关键组成部分颇受关注,它重新定义了车辆内部的用户体验。这种复杂的应用与车辆内部系统无缝集成,使乘员能够轻松定制自己的座椅偏好。无论是调节座椅高度、角度还是腰部支撑,座椅调节系统都应确保驾驶员和所有乘客获得个性化和舒适的乘坐体验。 MPS领先的解决方案中包含了一系列专为汽车应用设计的高性能半导体器件,其中包括电机驱动器、传感器、LDO、看门狗定时器和监控电路等。凭借出色的效率和可靠性,我们的产品能够为现代汽车用户打造灵敏且精细的座椅定制体验。 MPS 无可比拟的全套电源解决方案提供了座椅调节应用所需的一切动力。丰富的产品组合为现代汽车用户提供了反应灵敏又精致的座椅定制体验,能够满足汽车制造商和客户的多样化需求。
-
APPLICATION
尾门控制应用尾门控制提供了一种无缝、高效的尾门操作方法,它结合智能控制机制,可在各种汽车应用场景中提高用户的便利性与安全性。尾门控制是为满足汽车尾门系统不断发展的需求而提供的一种先进解决方案。 MPS 卓越的电源解决方案中包含了全套半导体元件,包括电机驱动器、传感器、LDO、看门狗定时器和监控电路。这些器件在优化尾门系统的性能、可靠性和能效方面发挥着关键作用。 MPS 无可比拟的全套电源解决方案提供了尾门控制应用所需的一切。我们的产品可无缝集成到汽车系统中,提供卓越性能的同时兼具精准控制、低功耗和坚固耐用等优势。
-
APPLICATION
天窗控制应用天窗控制装置用于无缝、高效地控制汽车天窗系统。无论是调整打开角度、管理遮阳帘还是实施防夹安全措施,天窗控制装置都应确保为驾驶员和乘客提供顺畅且灵敏的操作体验。. MPS 全面的电源解决方案中包含了一系列专为汽车应用量身定制的半导体元件,如电机驱动器、传感器、LDO、看门狗定时器和监控电路等。这些器件不仅可提高天窗操作的性能和精度,还有助于提高车辆整体安全性与能效。 我们卓越的电源解决方案为无缝驱动天窗控制应用提供了所需的一切。凭借行业领先的功能、无可比拟的可靠性以及持续创新精神,MPS 产品能够提供极致的天窗控制体验,在操作愉悦的同时又符合超高安全性与性能标准。
-
APPLICATION
后视镜控制应用后视镜控制是现代车辆的重要组成部分,它让驾驶员能够调整后视镜以获得最佳视野,从而保证安全。精准的后视镜定位可最大限度地减少盲点并确保清晰地观察到后面的道路。因其对驾驶安全性和便利性的重要性,后视镜控制已成为汽车制造商关注的焦点。 MPS 卓越的解决方案中包含了专为后视镜控制定制的全套组件,其中包括电机驱动器、负载开关和 LED 驱动器。这些解决方案能够实现平稳、精准的后视镜调节和节能操作,同时提升驾驶员的安全性与舒适度。 MPS 全面的器件组合提供了后视镜控制功能所需的一切。从先进的电机控制到智能传感器的集成,所有增强汽车后视镜控制系统的安全性和便利性需要的半导体元件,在我们的解决方案中都能够找到。
-
APPLICATION
暖通空调(HVAC)阻尼器控制应用HVAC阻尼器控制在调节暖通空调(供暖、通风和空调)系统内的气流方面发挥着关键的作用。精确的阻尼器控制可确保高效率的温度管理和气流分配,从而提高能源效率和室内舒适度。实现这种控制水平需要可靠且高性能的组件。 MPS优秀的解决方案套件中包含了专为 HVAC 阻尼器控制应用而设计的各种组件。这些组件包括电机驱动器和传感器,其无可比拟的精度、可靠性和功效对于维持高效、舒适的 HVAC 系统至关重要。 MPS 全面的器件组合能够为 HVAC 阻尼器控制应用供电提供所需的一切。从先进的电机控制到节能型电源管理,我们的解决方案可确保控制精准且响应灵敏,助力创造更舒适、更节能的环境。
-
APPLICATION
抬头显示 (HUD)应用在高速发展的汽车技术领域中,抬头显示 (HUD)系统无疑可以提升驾驶员的驾驶体验。创新的 HUD 系统能够将重要信息无缝集成到车辆的挡风玻璃上,为驾驶员提供实时数据、导航提示和安全警报,避免了被道路分散注意力。MPS 能够为HUD应用提供尖端组件。 MPS 专为汽车行业量身定制了整套的解决方案。我们卓越的产品组合包括了高性能的组件,例如 LED 背光驱动器。这些组件能够提供无可比拟的效率与可靠性,确保 HUD 应用拥有优秀的性能。 MPS 的顶级产品组合可以增强您驾驶体验的各个方面。领先的解决方案能够为 HUD 应用无缝赋能,实现无与伦比的清晰度、能源效率和耐用性。
-
APPLICATION
车后门控制应用MPS 能够为汽车技术领域中的后门控制应用提供关键组件,实现对汽车后门功能的无缝、安全控制。通过对后门操作的关键环节(从锁定机制到传感器集成)提供精准控制,这些组件帮助实现了用户便利性以及安全性的提升。 MPS 全面的解决方案中包含一系列组件,其中包括电机驱动器、位置传感器和 LED 驱动器。这些组件共同构筑了后门控制系统的坚实基础,实现了可靠性、精准控制以及高能效。 MPS面向该应用提供的优秀产品能够增强安全性、便利性和整体用户体验。 从确保平稳的电动操作,到实施智能传感器相关功能,MPS 为先进的汽车后门控制系统供电提供了所需的全套元器件。
-
APPLICATION
前门控制应用前门控制系统在现代汽车设计中发挥着非常关键的作用,对驾驶员和乘客来说,它同时提供了便利性、安全性以及功能性。该应用模块可以为多种功能提供组件,例如电动车窗控制、中控锁和后视镜调节等,确保了对车辆的无缝控制以及舒适的车内体验。 MPS 的全套解决方案中涵盖了专为前门控制应用量身定制的丰富半导体组件,包括电机驱动器、位置传感器、LED 驱动器、智能二极管控制器、低压差 (LDO) 稳压器、看门狗定时器以及监控电路。这些组件能够提供出色的效率、可靠性和紧凑型设计。 MPS卓越的产品组合为实现前门控制系统供电提供了所需的一切。我们先进的半导体技术可确保您的门控应用拥有最高标准的性能、安全与能效。
-
APPLICATION
自适应前照灯应用自适应汽车大灯系统代表了汽车安全性与便利性的重大进步。该系统可根据各种驾驶条件智能调整汽车大灯的方向和亮度,从而提高能见度,并减少车辆产生的眩光给对面车辆的驾驶员造成影响。自适应前照灯对夜间驾驶尤其有用,它可以帮助驾驶员更快、更准确地发现障碍物以及行人。 MPS 的全套创新解决方案中包括了专为自适应大灯应用定制的全系列半导体组件,例如电机驱动器、LED 驱动器、智能二极管控制器、低压差 (LDO) 稳压器、看门狗定时器以及监控电路。这些器件经过精心设计,能够提供出色的效率、可靠性和紧凑的外形。 MPS卓越的解决方案组合为实现自适应前照灯系统供电提供了所需的一切。拥有MPS 产品,汽车制造商和照明系统制造商将能够精准控制自适应大灯功能,同时确保优异的性能与能效。
-
APPLICATION
显示(导航、抬头显示、仪表盘)应用汽车显示—包括中央显示器、平视显示器 (HUD) 和仪表盘—向驾驶员显示关键信息和交互式内容。中央信息显示器连接到主机,并提供导航和其他车内信息娱乐控制。汽车 HUD 和仪表仪表盘为驾驶员提供易于访问的信息。HUD 还可以在视线高度上从集群显示器中投射出关键指标,例如速度、温度和燃料用量。除了满足严格的散热要求、ISO26262 安全标准和 EMC 法规之外,这些高级显示器还要求高效率、易于集成和可扩展性的电源解决方案。 我们典型的电源管理解决方案组合包括降压和升压变换器、电源模块、低压差 (LDO) 稳压器、线性稳压器、USB 充电端口、负载开关、PMIC、背光 (WLED) 驱动器、直流有刷驱动和螺线管驱动器和直流无刷预驱动器。这些汽车级部件可实现高质量的显示,同时还满足重要的安全标准。 MPS 高效、可扩展的产品组合为您提供支持下一代汽车显示设计所需的一切。
-
APPLICATION
抬头显示(中端)应用汽车抬头显示设计已经从传统的硬件接口演变为提供各种车内功能的复杂信息娱乐系统。这些功能包括导航、无线连接、乘客娱乐、手势识别和语音控制。随着消费者对信息娱乐功能的期望不断提高,制造商面临着设计挑战,例如减少驾驶员分心、防止互联环境中的网络安全威胁以及满足充电和数据传输需求。除了符合 ISO26262 安全标准和 EMI 抑制之外,中档主机还提供具有成本效益的简化技术,以增强中央接口的功能和性能。 我们出色的汽车级部件产品组合包括低压差 (LDO) 稳压器、降压和升压变换器、电源模块、负载开关、模拟开关和 PMIC。这些部件满足温度和 EMI 要求,同时还有效地最大限度地减小了总解决方案尺寸。 MPS 可靠、经济高效的电源管理解决方案为您提供为下一代中端抬头显示设计供电所需的一切。
-
APPLICATION
抬头显示(高端)应用汽车抬头显示设计已经从传统的硬件接口演变为提供各种车内功能的复杂信息娱乐系统。这些功能包括导航、无线连接、乘客娱乐、手势识别和语音控制。随着消费者对信息娱乐功能的期望不断提高,制造商面临着设计挑战,例如减少驾驶员分心、防止互联环境中的网络安全威胁以及满足充电和数据传输需求。除了符合 ISO26262 安全标准和 EMI 抑制要求外,高端主机单元还提供强大的尖端技术,以实现直观、无缝的驾驶体验。 我们广泛的电源管理解决方案目录包括降压和升压变换器、电源模块、低压差 (LDO) 稳压器、降压转换器、负载开关、模拟开关和 PMIC。这些组件旨在确保以最小的封装尺寸实现最佳性能,同时满足温度和 EMI 安全要求。 MPS 优质、高效的产品目录为您提供支持下一代高端抬头显示设计所需的一切。
-
APPLICATION
信息娱乐系统应用汽车车载信息娱乐系统越来越多地由软件驱动,以增强安全性和整体驾驶体验。现代汽车将驾驶和环境信息、乘客娱乐、无线连接和导航集成到一个集中的信息娱乐系统架构中。然而,随着复杂的车载信息娱乐系统的兴起,汽车设计师还面临着越来越多的系统复杂性,例如高级驾驶辅助系统 (ADAS) 以及对连接性和舒适性的考虑,以及符合 ISO26262 安全标准和 EMI 法规。 我们卓越的车规级组件套件包括降压和升压变换器、电源模块、低压降 (LDO) 稳压器、USB 充电端口、负载开关、模拟开关、PMIC、背光 (WLED) 驱动器、直流有刷和螺线管驱动器和直流无刷预驱动器。这些部件旨在以紧凑的封装尺寸简化系统设计,并确保符合严格的安全要求。 MPS 可靠、高效的电源解决方案为下一代信息娱乐系统设计供电提供了所需的一切。
-
APPLICATION
远程信息处理 (TELEMATICS/E-CALLS)应用远程信息处理和紧急呼叫系统可以监测车辆状况,并在发生碰撞事故时,帮助驾驶员或向紧急救援人员直接发出警报,从而提高车辆的安全性。这些嵌入式车载工具可以监测和诊断,并提供一系列功能诸如车辆追踪、道路救援通信和紧急呼叫通信等。但新功能将使设计更复杂,更具挑战性。像所有汽车部件一样,这些汽车级部件必须满足严格的EMI和温度要求,消费者和制造商都希望其设计在提高舒适性和便利性的同时,仍然保证安全,并最大程度地避免影响驾驶员。 MPS提供了广泛的电源管理解决方案组合,包括电源模块、降压和升压变换器、LDO和线性稳压器,以及D类音频放大器。这些高度可靠的产品可满足严格的温度和EMI要求,同时可简化系统设计并缩小整体解决方案尺寸。 MPS可靠、高效的解决方案可为下一代汽车远程信息处理和紧急呼叫设计提供所需的一切。
-
APPLICATION
77GHZ 雷达应用77GHz雷达在汽车高级驾驶辅助系统(ADAS)中迅速普及。感知系统是ADAS技术中不断增长的市场,随着新汽车将雷达与摄像头甚至LIDAR系统集成在一起,感知系统也将继续扩张。汽车成像雷达被用作感测车辆周围物体或潜在危险的附加方式。77GHz雷达改进了其24GHz的前身,通过提供更大带宽实现了更大范围的分辨率和精度;而且,由于更高的频率意味着应用中使用的传感器可以更小,77GHz雷达还实现了更小的解决方案尺寸。但是,这些令人印象深刻的功能也意味设计更加复杂,除了要符合ISO26262安全标准和EMI规范以外,还要做更多考虑。 MPS的汽车级组件提供顶级的产品组合,包括电源模块和降压/升压变换器。所有这些器件均经过专门设计,能够以最小封装尺寸提供最佳效率和性能。这些器件还可以最大程度地降低EMI,确保符合安全要求,令消费者和制造商对车辆充满信心。 MPS可靠且高性价比的解决方案可以为...
-
PRODUCT CATEGORY
LDO产品类目 -
PRODUCT
MPQ20087-AEC1产品40V, 500mA, High-Accuracy, High-PSRR, Fixed-Output Linear Regulator, AEC-Q100 Qualified
-
PRODUCT
MPQ20086-AEC1产品40V, 500mA, High-Accuracy, High-PSRR, Adjustable-Output Linear Regulator, AEC-Q100 Qualified
-
PRODUCT
MPQ20085-AEC1产品40V, 150mA, High-Accuracy LDO with Power Good Adjustment, AEC-Q100 Qualified
-
PRODUCT
MPQ20033-AEC1产品5.5V, 0.3A, High-Accuracy, Low-IQ LDO with Power Good, AEC-Q100 Qualified
-
PRODUCT
MPQ20032-AEC1产品5.5V, 0.5A, High-Accuracy, Low-IQ LDO with Power Good, AEC-Q100 Qualified
-
PRODUCT
MPQ20083-AEC1产品40V, 150mA, High-Accuracy, High-PSRR LDO, AEC-Q100 Qualified
直接登录
创建新帐号